Các dạng khuyết tật hàn và phương pháp kiểm tra mối hàn

Tháng Hai 22 07:00 2018

Các dạng khuyết tật hàn và phương pháp kiểm tra mối hàn

1.Chất lượng đường hàn và chỉ tiêu đánh giá chất lượng mối hàn:
1.1. Chỉ tiêu đánh giá chất lượng đường hàn:
– Về cơ tính: Có độ bền, độ dẻo, độ dai và chạm, độ cứng, chỉ tiêu cơ tính đặc trưng khả năng chịu lực của kết cấu. Tùy điều kiện làm việc của kết cấu và yêu cầu kỹ thuật mà chọn chỉ tiêu cơ tính phù hợp.

– Hóa lý tính
– Độ tin cậy
– Tính mỹ thuật
– Tính kinh tế:
+ Vật liệu chế tạo kết cấu, vật liệu hàn.
+ Công nghệ hàn

1.2  Độ bền lâu:

Độ bền lâu (hay còn gọi tuổi thọ) của vật liệu hay chi tiết máy là khoảng thời gian làm việc của chúng dưới tác động của một chế độ tải trọng và các yếu tố ảnh hưởng khác mà không bị phá hủy. Độ bền lâu thường được tính bằng giờ hoặc chu kỳ ứng suất, trong một số lĩnh vực, chuyên ngành (ô tô, máy kéo, đóng tàu, hàng không) độ bền lâu được tính bằng km làm việc.

2.Các dạng khuyết tật hàn:

Khuyết tật hàn là những sai lệch về hình dáng kích thước và tổ chức kim loại của kết cấu hàn so với tiêu chuẩn thiết kế và yêu cầu kỹ thuật, làm giảm độ bền và khả năng làm việc của nó.

a. Khuyết tật nứt:

Là khuyết tật nghiêm trọng nhất của liên hết hàn, nứt có thể xuất hiện ở trên bề mặt mối hàn, trong mối hàn, vùng ảnh hưởng nhiệt.

Nứt có thể xuất hiện ở các nhiệt độ khác nhau:
– Nứt nóng (hot crack) : Xuất hiện trong quá trình kết tinh của liên kết hàn khi nhiệt độ khá cao (trên 1000°C).

– Nứt nguội (cold crack) : Xuất hiện khi kết thúc quá trình hàn ở nhiệt độ dưới 1000°C, có thể xuất hiện sau vài giờ, vài ngày sau khi hàn.

Các vết nứt có kích thước khác nhau:
– Nứt tế vi: phát triển trong quá trình làm việc, phát triển thành nứt thô đại.

– Nứt thô đại: Phá hủy kết cấu ngay khi làm việc.
– Các vết nứt thô đại có thể phát hiện bằng mắt thường hoặc dừng kính lúp (trên bề mặt).
– Vết nứt tế vi nằm trong mối hàn có thể dùng phương pháp siêu âm mối hàn, chụp X quang,…để phát hiện.Để xem các tin bài khác về, hãy nhấn vào đây.

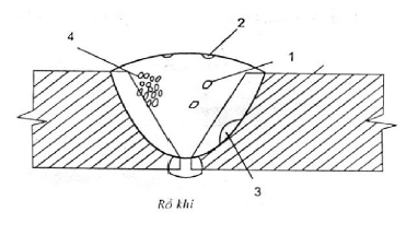
b. Khuyết tật rỗ khí:

Sinh ra do hiện tượng khí trong kim loại lỏng không kịp thoát ra ngoài khi kim loại vũng hàn đông đặc. Rỗ khí có thể sinh ra :
– Ở bên trong (1) hoặc bề mặt mối hàn (2).

– Nằm ở phần ranh giới giữa kim loại cơ bản và kim loại đắp.
– Có thể phân bố, tập trung(4) hoặc nằm rời rạc trong mối hàn

Những mối hàn tồn tại rỗ khí sẽ làm giảm tác dụng làm việc, giảm độ kín.

Nguyên nhân:
– Hàm lượng C trong kim loại cơ bản và trong vật liệu hàn quá cao.

–  Vật liệu hàn bị ẩm, bề mặt hàn bị bẩn.
– Chiều dài hồ quang lớn, vận tốc hàn quá cao.

Cách khắc phục:
– Điều chỉnh chiều dài hồ quang ngắn, giảm vận tốc hàn.

– Sau khi hàn không gõ xỉ ngay kéo dài thời gian giữ nhiệt cho mối hàn.
– Hàn MAG/MIG đủ khí, khoảng cách chụp khí và vật hàn đảm bảo
– Hàn tự động thuốc hàn không được ẩm, cung cấp đủ thuốc trong quá trình hàn.

c. Lẫn xỉ( hay kẹt xỉ):

Đây là loại khuyết tật dễ xuất hiện trong mối hàn, xỉ có thể tồn tại dưới dạng: Trong mối hàn, trên bề mặt mối hàn, ranh giới giữa kim loại cơ bản và kim loại mối hàn, giữa các lượt hàn.

Rỗ xỉ ảnh hưởng đến độ dai va đập và độ dẻo kim loại mối hàn làm giảm khả năng làm việc của kết cấu.

Nguyên nhân lẫn xỉ:
– Dòng điện nhỏ dẫn đến không đủ nhiệt cung cấp cho kim loại nóng chảy do đó xỉ khó thoát ra khỏi kim loại vũng hàn.
– Hàn nhiều lớp chưa làm sạch xỉ.
–  Làm nguội mối hàn nhanh.

d. Khuyết tật hàn không ngấu:

Là dạng khuyết tật nghiêm trọng trong liên kết hàn dẫn đến nứt làm hỏng liên kết.

Nguyên nhân: Do mép hàn chưa hợp lý, dòng điện hàn quá nhỏ hoặc vận tốc hàn quá nhanh, góc độ điện cực (que hàn) và cách đưa điện cực chưa hợp lý, chiều dài cột hồ quang quá lớn, điện cực hàn chuyển động không đúng theo trục hàn.

e. Khuyết tật hàn lẹm chân:

Làm giảm tác dụng làm việc của liên kết, tạo sự tập trung ứng suất cao có thể dẫn đến phá hủy kết cấu.

Nguyên nhân của lẹm chân: Do dòng điện hàn quá lớn, chiều dài cột hồ quang lớn, góc độ và cách đưa que hàn chưa hợp lý, sử dụng chưa đúng kích thước điện cực hàn (quá lớn).

f. Khuyết tật hàn chảy loang:

Là hiện tượng kim loại lỏng chảy loang trên bề mặt của liên kết hàn (bề mặt kim loại cơ bản vùng không nóng chảy).

Nguyên nhân: Do góc nghiêng que hàn không hợp lý, dòng điện hàn quá cao, tư thế hàn và cách đặt chân vật hàn không hợp lý.

Khuyết tật về hình dáng liên kết hàn:
Bao gồm các sai lệch về hình dáng mặt ngoài của liên kết hàn.
– Chiều cao phần nhô, chiều rộng mối hàn không đồng đều

– Đường hàn vặn vẹo
– Vẩy hàn không đều

Nguyên nhân:
– Gá lắp, chuẩn bị mối hàn không hợp lý

– Chế độ hàn không ổn định
– Vật liệu hàn không đảm bảo chất lượng
– Trình độ công nghệ quá thấp
– Quá nhiệt: Do chọn chế độ hàn không hợp lý( năng lượng nhiệt lớn, vận tốc hàn nhỏ).
– Bắn té: Kim loại bắn té lên vật hàn do vật liệu hàn không đảm bảo chất lượng, thiếu khí bảo vệ hoặc sử dụng không đúng khí.

Phương pháp kiểm tra mối hàn bao gồm kiểm tra phá hủy và kiểm tra không phá hủy:

Kiểm tra không phá hủy: Nhằm xác định các đặc tính cơ học của liên kết hàn để so với cơ tính của kim loại cơ bản. Từ đó cũng có thể đánh giá tay nghề của người thơ hàn một cách chính xác hơn. Bao gồm: Thử kéo, thử uốn, thử dai va đập.

Kiểm tra không phá hủy: Là phương pháp là phương pháp kiểm tra được thực hiện trực tiếp với liên kết hàn trên các sản phẩm hàn cụ thể mà không gây phá hủy sản phẩm hàn.

Để xem các tin bài khác về Gia công kim loại & Cơ khí chính xác, hãy nhấn vào đây.

(Nguồn: lavme.vn)

Bình luận hay chia sẻ thông tin